3.2. Электродуговое испарение графита
Наиболее широко распространен способ получения углеродных нанотрубок методом распыления графитового электрода в гелиевой плазме дугового разряда. Основной вариант метода разработан Кретчмером с сотрудниками для синтеза фуллеренов (см. главу 2) [29]. Для получения нанотрубок метод был модифицирован: увеличены плотность тока и давление инертного газа.
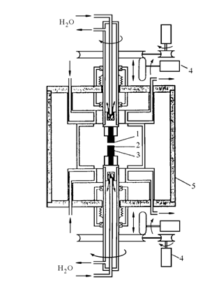
На рис. 3.4 приведена схема электродуговой установки для получения нанотрубок [30].
Графитовые анод и катод располагают на расстоянии 1-2 мм, которое автоматически поддерживают постоянным в ходе процесса. При дуговом разряде на катоде конденсируется углерод в виде многостенных нанотрубок (МНТ) и аморфного углерода. Этот конденсат называют депозитом. Максимальный выход нанотрубок наблюдается при давлении гелия 500 Торр и минимально возможном токе дуги, необходимом для ее стабильного "горения". При использовании цилиндрических электродов диаметром 12,5 мм напряжение дуги составляло 17-20 В, а ток изменялся от 110 до 130 А; в случае применения электродов диаметром 19 мм значения указанных параметров составляли 17-19 В и 250-300 А. МНТ растут перпендикулярно плоской поверхности катода (рис. 3.5). Как правило, они собраны в цилиндрические пучки диаметром около 50 мкм, их длина может достигать 40 мкм.

Рис. 3.4. Электродуговая установка для синтеза нанотрубок: 1 – графи-товый анод; 2 – депозит из нанотрубок; 3 – графитовый катод;
4 – устройство для автоматического поддержания межэлектрод¬ного расстояния на заданном уровне; 5 – стенка камеры.

Рис. 3.5. Схема распределения фуллеренсодержащей сажи (на стенках реактора) и МНТ (в катодном депозите) при электродуговом испарении графита.
Наряду с трубками в депозите также наблюдаются другие наночастицы, имеющие разнообразные формы. Для их отделения от нанотрубок измельченный депозит в виде взвеси в метаноле диспергируют при помощи ультразвука.
Надо отметить, что впервые об углеродных нанотрубках упоминается в работе Иидзимы, который исследовал продукты электродугового испарения графита в атмосфере гелия [31]. В [32] приведены следующие параметры процесса: диаметры анода и катода - 8 и 12 мм соответственно, сила тока - 100 А, напряжение - 10-35 В. В образующемся на катоде осадке с помощью электронного микроскопа наблюдали углеродные нанотрубки. Выход нанотрубок сильно зависит от давления гелия: оптимальным оказалось давление 67 кПа, при этих условиях три четверти испаряемого графита осаждалось на катоде, а выход нанотрубок составлял 25 % (мас.). Оказалось, что в аргоне и метане выход МНТ существенно ниже.
К настоящему времени имеется огромное количество публикаций и обзоров по электродуговому синтезу нанотрубок (см, например, [1-4, 7-10, 33-42]). В большинстве из них отмечается, что многослойные трубки диаметром 2-20 нм объединяются в правильно организованные "сростки" или "канаты" диаметром в несколько микрон, которые образуют видимые невооруженным глазом волокна.
На выход и структуру МНТ влияют также и диаметры электродов, напряжение, сила и плотность тока, температура плазмы, скорость испарения графита, давление и состав газовой среды, конструкция реактора, градиент температур в реакторе, чистота графита и многое другое. Все это затрудняет сопоставление и воспроизведение результатов разных авторов. До сих пор нет общепринятого механизма образования МНТ. В настоящее время предпочтение отдается модели, при которой рост нанотрубок происходит за счет присоединения углеродных фрагментов (атомов или кластеров) к "висячим" связям на концах открытых нанотрубок.
При распылении графитового электрода с катализатором на стенках реактора и вокруг катода образуется сажа, в которой вместе с аморфным углеродом, фуллеренами и частицами катализатора находятся одно-, двух- и многостенные нанотрубки. Вид и форма сажи сильно зависят от ее местонахождения. На стенках реактора сажа представляет собой липкий резино- или бумагоподобный осадок, который можно снять в виде отдельных кусков или лент. Сажа вокруг катода похожа на кружевной воротник или мягкий пояс и обладает некоторой эластичностью. Между катодом и стенкой реактора сажа паутинообразная (рис. 3.6).
Впервые об образовании одностенных нанотрубок сообщалось в [43, 44]. К настоящему времени изучены в качестве катализаторов образования ОНТ порошки металлов (Ni, Co, Fe, Mn, Cu, Zn, Cd, РЗМ, Y, Pt, Pd, Ru, Ag, Li, B, Al, In, Si и т. д.), смеси двух или более металлов и неметаллов, карбиды, сульфиды и оксиды, порошки сплавов и т. д. [42, 45-47].

Рис. 3.6. Схема реактора электродугового распыления анода с катализатором и распределение в нем конденсированных продуктов.
На выход, качество (одно- или многослойные, сильно или слабо загрязненные примесями аморфного углерода и фуллеренов), конфигурацию и локализацию углеродных наноструктур влияют природа и количество катализатора, параметры электрического разряда, состав и давление газов, скорость охлаждения конденсированных продуктов и многое другое. Считается, что наиболее пригодными для синтеза ОНТ являются смеси порошков металлов восьмой группы периодической таблицы и их смеси с Y или Cu, а в качестве среды – гелий [3, 7, 48].
Диаметр образующихся ОНТ при электродуговом испарении графита в присутствии 1-5 % смеси порошков Co, Ni и Fe находится в пределах 1,0-1,5 нм, иногда интервал несколько шире - 0,7-3 нм. Добавки серы или сульфидов к металлическим катализаторам приводят к заметному расширению диапазона наблюдаемых значений диаметра ОНТ (1-6 нм), а в саже наряду с ОНТ обнаруживаются и двухстенные нанотрубки (ДНТ). Количество ДНТ увеличивается при замене гелия на смесь аргона с водородом.
При электродуговом синтезе в газовую фазу, основу которой составлял инертный газ, пытались добавлять также СН4, H2 и CF4
[42-49]. Полагали, что, меняя газовую среду, можно изменять структуру ОНТ.
Механизм образования ОНТ, по-видимому, существенно отличается от механизма образования МНТ. Вероятнее всего, при синтезе ОНТ атомы углерода адсорбируются на поверхности частиц катализатора и перемещаются к основанию растущей нанотрубки. Считается, что структура растущей ОНТ зависит от размера частиц катализатора. Если средний размер частиц существенно больше диаметра нанотрубки, из нее растут множество закрытых ОНТ - образуется так называемый "ежик". Если диаметр частицы катализатора не превышает диаметра нанотрубки, катализатор перемещается вместе с растущим концом нанотрубки [50]. В некоторых работах отмечают [42], что при использовании одного и того же металла выход и размеры нанотрубок зависят от концентрации катализатора, давления и состава газа, геометрии установки.
ОНТ при синтезе образуют "сростки" ("пучки", "жгуты") из нескольких десятков нанотрубок, в которых оси отдельных ОНТ располагаются параллельно друг другу. Нередко "сростки" объединяются в "канаты" с двухмерной кристаллической решеткой.
В [51, 52] установлено, что при введении в графит бора в виде B, B2O3 или BN образуются закрытые нанотрубки, содержащие на торцах бор. Добавки нитрида бора приводят к появлению отдельных участков, состоящих из BN. Если материалом для электродов служит BC2N, то образуются нанотрубки, содержащие B, C, N. Распыление боргидридов циркония и гафния в токе азота позволяет получать нанотрубки из нитрида бора.